Parts for Generators EW EW170 EW170 A GE400-1000001-9999999 CARBURETOR | Peak Honda World

Generators EW EW170 EW170 A GE400-1000001-9999999 CARBURETOR - Peak Honda World

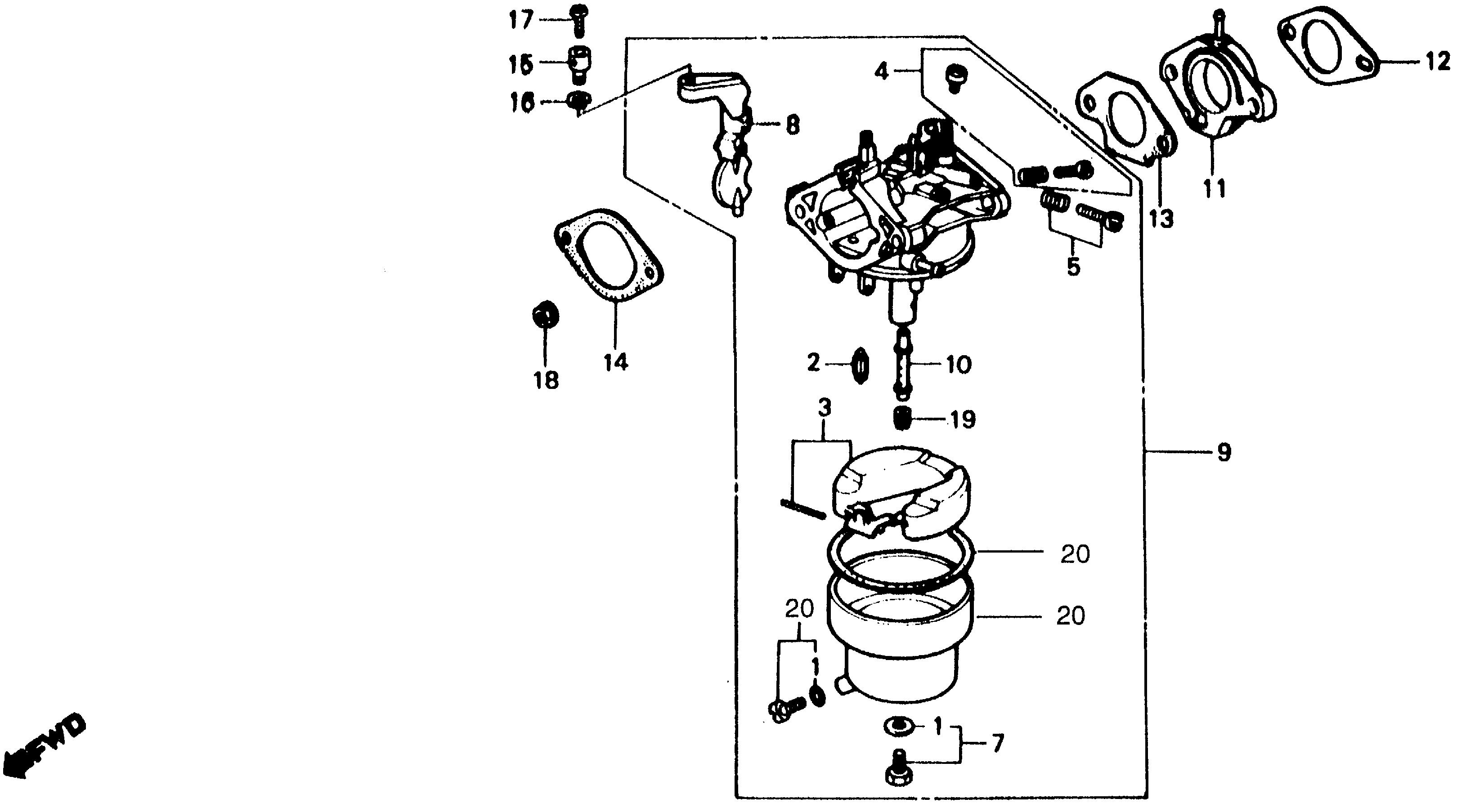
Ref No
Part Number
Description
Serial Range
Qty
Price

Ref No
1
Part Number
16010-YA0-801
Description
GASKET SET
Serial Range
1000001 - 9999999
Qty
Price
$27.46

Ref No
2
Part Number
16011-KCK-910
Description
VALVE SET, FLOAT
Serial Range
1000001 - 9999999

Ref No
3
Part Number
16013-890-015
Description
FLOAT SET
Serial Range
1000001 - 9999999

Ref No
4
Part Number
16016-730-015
Description
SCREW SET A
Serial Range
1000001 - 9999999
Qty
Price
$23.38

Ref No
4
Part Number
16016-YA0-801
Description
SCREW SET
Serial Range
1000001 - 9999999
Qty
Price
$23.38

Ref No
5
Part Number
16016-896-005
Description
SCREW SET A
Serial Range
1000001 - 9999999

Ref No
5
Part Number
16016-YA1-801
Description
SCREW SET A
Serial Range
1000001 - 9999999
Qty
Price
$20.54

Ref No
6
Part Number
16024-890-731
Description
SCREW SET, DRAIN (NOT AVAILABLE)
Serial Range
1000001 - 9999999

Ref No
7
Part Number
16028-883-005
Description
SCREW SET B
Serial Range
1000001 - 9999999

Ref No
7
Part Number
16028-ZK7-S91
Description
SCREW SET
Serial Range
1000001 - 9999999
Qty
Price
$14.59

Ref No
8
Part Number
16044-890-005
Description
CHOKE SET (NOT AVAILABLE)
Serial Range
1000001 - 9999999

Ref No
9
Part Number
16100-ZA1-603
Description
CARBURETOR ASSY. (BB35F C/D) (NOT AVAILABLE)
Serial Range
1000001 - 1044474

Ref No
9
Part Number
16100-ZA1-604
Description
CARBURETOR ASSY. (BB35F E) (NOT AVAILABLE)
Serial Range
1044475 - 9999999

Ref No
9
Part Number
16100-ZA1-605
Description
CARBURETOR ASSY. (BB35F F) (NOT AVAILABLE)
Serial Range
1000001 - 9999999

Ref No
10
Part Number
16166-ZA1-015
Description
NOZZLE, MAIN (NOT AVAILABLE)
Serial Range
1000001 - 9999999

Ref No
11
Part Number
16211-893-000
Description
INSULATOR, CARBURETOR
Serial Range
1000001 - 9999999

Ref No
12
Part Number
16212-890-306
Description
GASKET, INSULATOR
Serial Range
1000001 - 9999999

Ref No
12
Part Number
16212-890-800
Description
GASKET, INSULATOR
Serial Range
1000001 - 9999999

Ref No
13
Part Number
16221-890-306
Description
GASKET, CARBURETOR
Serial Range
1000001 - 9999999

Ref No
13
Part Number
16221-890-800
Description
GASKET, CARBURETOR
Serial Range
1000001 - 9999999
Qty
Price
$2.93

Ref No
14
Part Number
16269-890-306
Description
GASKET, AIR CLEANER
Serial Range
1000001 - 9999999

Ref No
14
Part Number
16269-890-800
Description
GASKET, AIR CLEANER
Serial Range
1000001 - 9999999
Qty
Price
$1.99

Ref No
15
Part Number
16617-890-010
Description
HOLDER, CABLE
Serial Range
1000001 - 9999999
Qty
Price
$9.15

Ref No
16
Part Number
90605-230-000
Description
CIRCLIP (5MM)
Serial Range
1000001 - 9999999

Ref No
17
Part Number
93500-04008-0A
Description
SCREW, PAN (4X8)
Serial Range
1000001 - 9999999
Qty
Price
$1.99

Ref No
18
Part Number
94050-06080
Description
NUT, FLANGE (6MM)
Serial Range
1000001 - 9999999

Ref No
19
Part Number
99101-124-0920
Description
JET, MAIN (#92)
Serial Range
1000001 - 9999999
Qty
Price
$12.88

Ref No
19
Part Number
99101-124-0950
Description
JET, MAIN (#95)
Serial Range
1000001 - 9999999
Qty
Price
$14.39

Ref No
19
Part Number
99101-124-0980
Description
JET, MAIN (#98)
Serial Range
1000001 - 9999999
Qty
Price
$14.39

Ref No
20
Part Number
16015-896-505
Description
CHAMBER SET, FLOAT
Serial Range
1000001 - 9999999