Parts for Generators EW EW140 EW140 A EA9-1000001-9999999 LABELS | Peak Honda World

Generators EW EW140 EW140 A EA9-1000001-9999999 LABELS - Peak Honda World

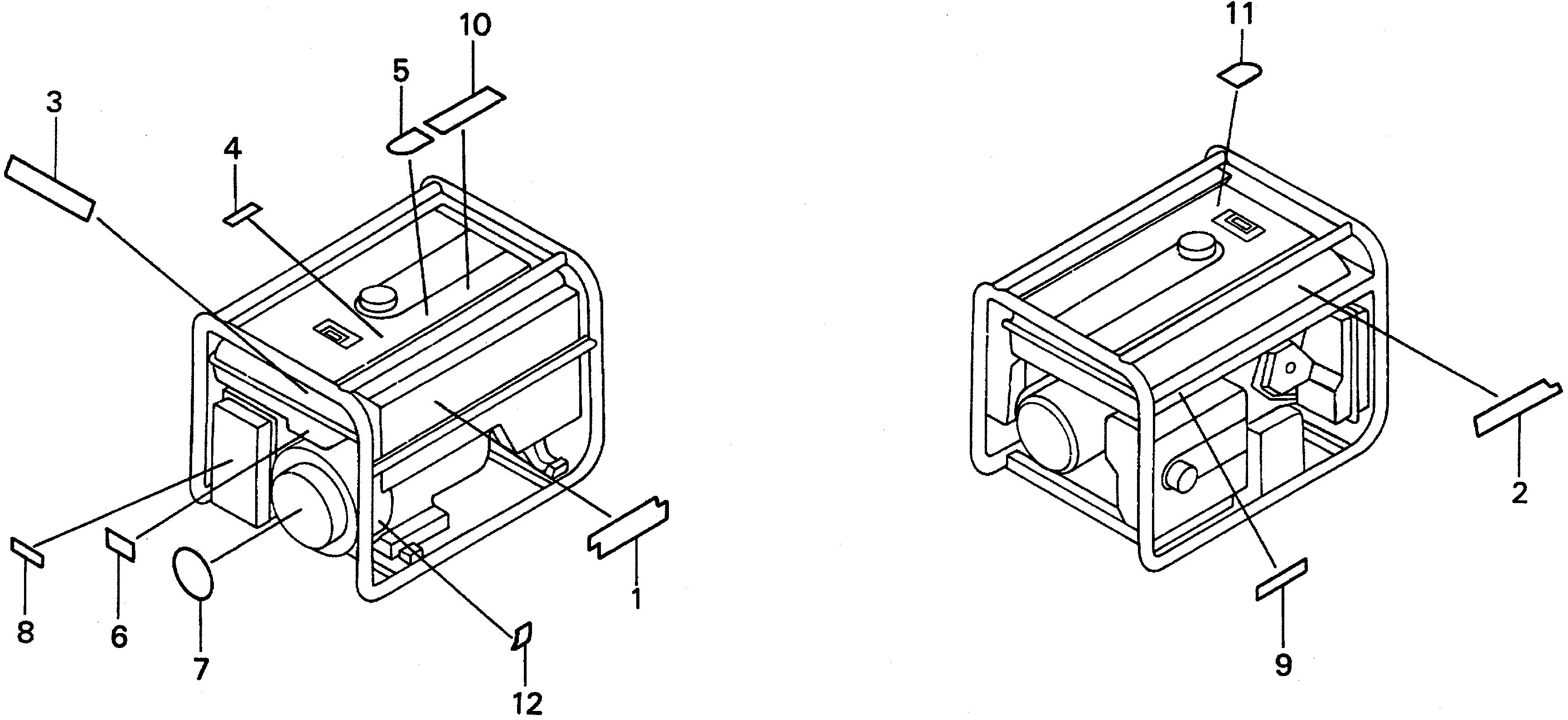
Ref No
Part Number
Description
Serial Range
Qty
Price

Ref No
1
Part Number
87102-ZB4-800
Description
EMBLEM (NOT AVAILABLE)
Serial Range
1002172 - 9999999

Ref No
2
Part Number
87103-ZB4-000
Description
MARK, HONDA (NOT AVAILABLE)
Serial Range
1000001 - 9999999

Ref No
3
Part Number
87152-ZB4-830
Description
PLATE, CAUTION (NOT AVAILABLE)
Serial Range
1000001 - 9999999

Ref No
4
Part Number
87168-ZC3-630
Description
LABEL, RAIN WARNING (ENGLISH)
Serial Range
1002779 - 9999999
Qty
Price
$5.79

Ref No
5
Part Number
87522-883-660
Description
MARK, CAUTION (ENGLISH/FRENCH/SPANISH)
Serial Range
1002779 - 9999999
Qty
Price
$5.39

Ref No
6
Part Number
87528-898-620
Description
MARK, CHOKE
Serial Range
1000001 - 9999999
Qty
Price
$2.38

Ref No
7
Part Number
87530-ZB4-000
Description
MARK, OIL ALERT (NOT AVAILABLE)
Serial Range
1000001 - 9999999

Ref No
8
Part Number
87533-ZC0-630
Description
MARK, AIR CLEANER (ENGLISH)
Serial Range
1000001 - 9999999
Qty
Price
$4.40

Ref No
9
Part Number
87539-898-620
Description
MARK, EX. CAUTION (ENGLISH/FRENCH)
Serial Range
1000001 - 9999999
Qty
Price
$4.40

Ref No
10
Part Number
87561-880-600
Description
MARK, CAUTION (ENGLISH/FRENCH/SPANISH)
Serial Range
1000001 - 9999999
Qty
Price
$5.99

Ref No
11
Part Number
87563-ZB4-631
Description
LABEL, CONNECT WARNING (ENGLISH)
Serial Range
1000001 - 9999999
Qty
Price
$7.35

Ref No
12
Part Number
87594-ZB4-620
Description
MARK, OIL CAUTION
Serial Range
1000001 - 9999999
Qty
Price
$5.73