Parts for Portable Outboard Engines (2 - 20 hp) BFP BFP15 BFP15DK3 XHTA BALJ-1600001-9999999 FLYWHEEL | Peak Honda World

Portable Outboard Engines (2 - 20 hp) BFP BFP15 BFP15DK3 XHTA BALJ-1600001-9999999 FLYWHEEL - Peak Honda World

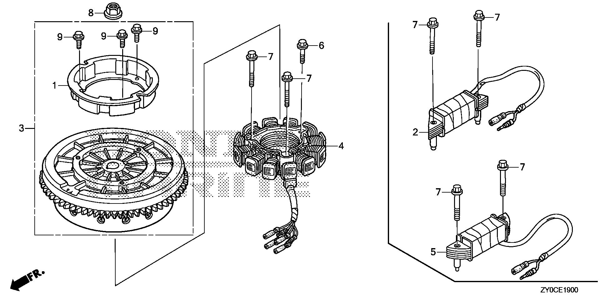
Ref No
Part Number
Description
Serial Range
Qty
Price

Ref No
1
Part Number
28451-ZW9-003
Description
PULLEY, STARTER
Serial Range
1000001 - 9999999
Qty
Price
$30.68

Ref No
3
Part Number
31110-ZY1-800ZA
Description
FLYWHEEL *TBLACK* (SELF STARTER) (BLACK)
Serial Range
1000001 - 9999999
Qty
Price
$257.13

Ref No
4
Part Number
31630-ZY1-003
Description
COIL ASSY., CHARGE (12A)
Serial Range
1000001 - 9999999
Qty
Price
$298.73

Ref No
6
Part Number
90002-ZW9-030
Description
BOLT, FLANGE (6X36) (CT200)
Serial Range
1000001 - 9999999
Qty
Price
$3.33

Ref No
7
Part Number
90006-ZW9-030
Description
BOLT, FLANGE (6X52) (CT200)
Serial Range
1000001 - 9999999
Qty
Price
$3.17

Ref No
8
Part Number
90202-ZY1-000
Description
NUT, SPECIAL (16MM)
Serial Range
1000001 - 9999999
Qty
Price
$11.08

Ref No
9
Part Number
95701-06010-08
Description
BOLT, FLANGE (6X10)
Serial Range
1000001 - 9999999
Qty
Price
$1.99