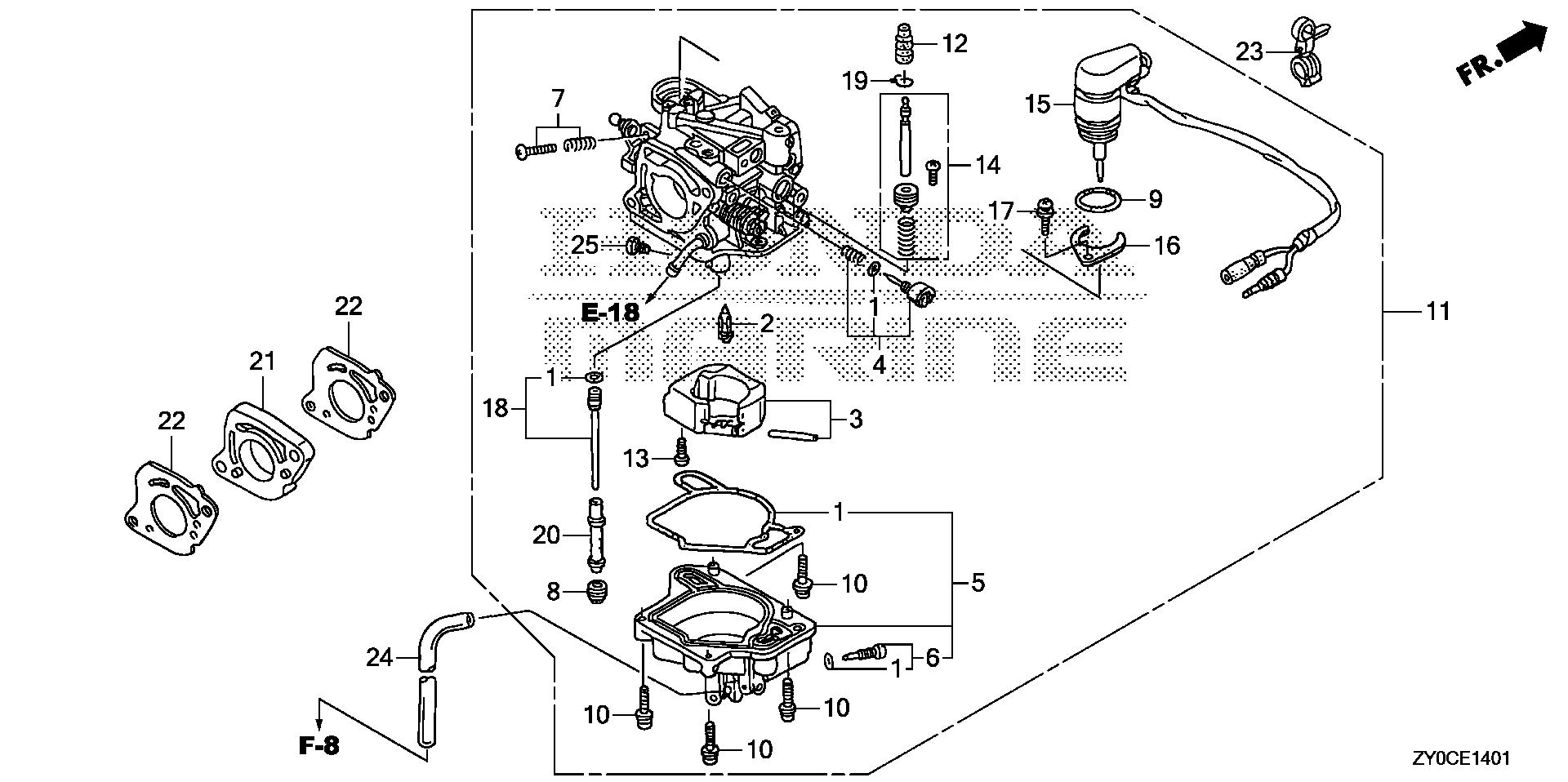
Ref No
Part Number
Description
Serial Range
Qty
Price
Ref No 1
Part Number 16010-ZW9-003
Description GASKET SET
Serial Range 1104534 - 9999999
Qty
Price $20.45
Add To Cart
Ref No 2
Part Number 16011-ZV4-005
Description VALVE SET, FLOAT
Serial Range 1000001 - 9999999
Ref No 3
Part Number 16013-ZW9-003
Description FLOAT SET
Serial Range 1000001 - 9999999
Qty
Price $37.23
Add To Cart
Ref No 4
Part Number 16016-ZY1-711
Description SCREW SET
Serial Range 1000001 - 9999999
Qty
Price $14.25
Add To Cart
Ref No 5
Part Number 16023-ZY0-811
Description CHAMBER SET, FLOAT
Serial Range 1061380 - 9999999
Qty
Price $72.19
Add To Cart
Ref No 5
Part Number 16023-ZY1-801
Description CHAMBER SET, FLOAT
Serial Range 1104526 - 9999999
Qty
Price $76.17
Add To Cart
Ref No 6
Part Number 16024-ZY3-000
Description SCREW SET, DRAIN
Serial Range 1000001 - 9999999
Qty
Price $17.98
Add To Cart
Ref No 7
Part Number 16028-ZV4-650
Description SCREW SET
Serial Range 1000001 - 9999999
Qty
Price $14.52
Add To Cart
Ref No 8
Part Number 16071-ZV4-005
Description SCREW, PLUG
Serial Range 1000001 - 9999999
Qty
Price $9.24
Add To Cart
Ref No 9
Part Number 16077-KG8-901
Description O-RING, BYSTARTER
Serial Range 1000001 - 9999999
Qty
Price $4.04
Add To Cart
Ref No 10
Part Number 16081-ZV4-650
Description SCREW-WASHER
Serial Range 1000001 - 9999999
Qty
Price $4.75
Add To Cart
Ref No 11
Part Number 16100-ZY0-813
Description CARBURETOR ASSY. (BJ11B A)
Serial Range 1000001 - 1061379
Qty
Price $311.97
Add To Cart
Ref No 11
Part Number 16100-ZY0-814
Description CARBURETOR ASSY. (BJ11B B)
Serial Range 1061380 - 9999999
Qty
Price $300.67
Add To Cart
Ref No 12
Part Number 16119-ZW9-013
Description CAP
Serial Range 1104526 - 9999999
Qty
Price $16.10
Add To Cart
Ref No 13
Part Number 16121-ZW9-003
Description SCREW, PAN
Serial Range 1000001 - 9999999
Qty
Price $1.99
Add To Cart
Ref No 14
Part Number 16123-ZY0-013
Description PLUNGER SET, ACCELERATOR PUMP
Serial Range 1000001 - 9999999
Qty
Price $28.42
Add To Cart
Ref No 14
Part Number 16123-ZY1-013
Description PLUNGER SET, ACCELERATOR PUMP
Serial Range 1061380 - 9999999
Qty
Price $11.60
Add To Cart
Ref No 15
Part Number 16130-ZY0-811
Description BYSTARTER ASSY., AUTO
Serial Range 1061380 - 9999999
Qty
Price $37.03
Add To Cart
Ref No 15
Part Number 16130-ZY1-801
Description BYSTARTER ASSY., AUTO
Serial Range 1104526 - 9999999
Qty
Price $77.43
Add To Cart
Ref No 16
Part Number 16131-ZW9-801
Description PLATE, SETTING
Serial Range 1000001 - 9999999
Qty
Price $4.57
Add To Cart
Ref No 17
Part Number 16132-ZW9-801
Description SCREW-WASHER
Serial Range 1000001 - 9999999
Qty
Price $1.99
Add To Cart
Ref No 18
Part Number 16150-ZY0-003
Description JET SET (#52)
Serial Range 1000001 - 9999999
Qty
Price $38.65
Add To Cart
Ref No 19
Part Number 16163-GHB-600
Description CLIP, TUBE
Serial Range 1000001 - 9999999
Qty
Price $2.80
Add To Cart
Ref No 20
Part Number 16166-ZY0-003
Description NOZZLE, MAIN
Serial Range 1000001 - 9999999
Qty
Price $35.16
Add To Cart
Ref No 21
Part Number 16211-ZY1-000
Description INSULATOR, CARBURETOR
Serial Range 1000001 - 9999999
Qty
Price $13.19
Add To Cart
Ref No 22
Part Number 16221-ZY1-000
Description GASKET, CARBURETOR
Serial Range 1000001 - 9999999
Qty
Price $13.16
Add To Cart
Ref No 23
Part Number 91558-SM4-003
Description CLIP, TUBE (135MM) (BLACK)
Serial Range 1000001 - 9999999
Qty
Price $9.35
Add To Cart
Ref No 24
Part Number 95003-07008-60M
Description BULK HOSE, VINYL (4X7X8000) (4X7X200)
Serial Range 1000001 - 9999999
Qty
Price $38.36
Add To Cart
Ref No 25
Part Number 99101-ZV5-0980
Description JET, MAIN (#98)
Serial Range 1000001 - 9999999
Qty
Price $8.04
Add To Cart
Ref No 25
Part Number 99101-ZV5-1000
Description JET, MAIN (#100)
Serial Range 1061380 - 9999999
Qty
Price $7.26
Add To Cart
Ref No 25
Part Number 99101-ZV5-1020
Description JET, MAIN (#102)
Serial Range 1061380 - 9999999
Qty
Price $10.06
Add To Cart
Ref No 25
Part Number 99101-ZV5-1050
Description JET, MAIN (#105)
Serial Range 1061380 - 9999999
Qty
Price $7.84
Add To Cart