Parts for Engines G G100 G100K1 QA G100-2000001-2424874 AIR CLEANER (1) | Peak Honda World

Engines G G100 G100K1 QA G100-2000001-2424874 AIR CLEANER (1) - Peak Honda World

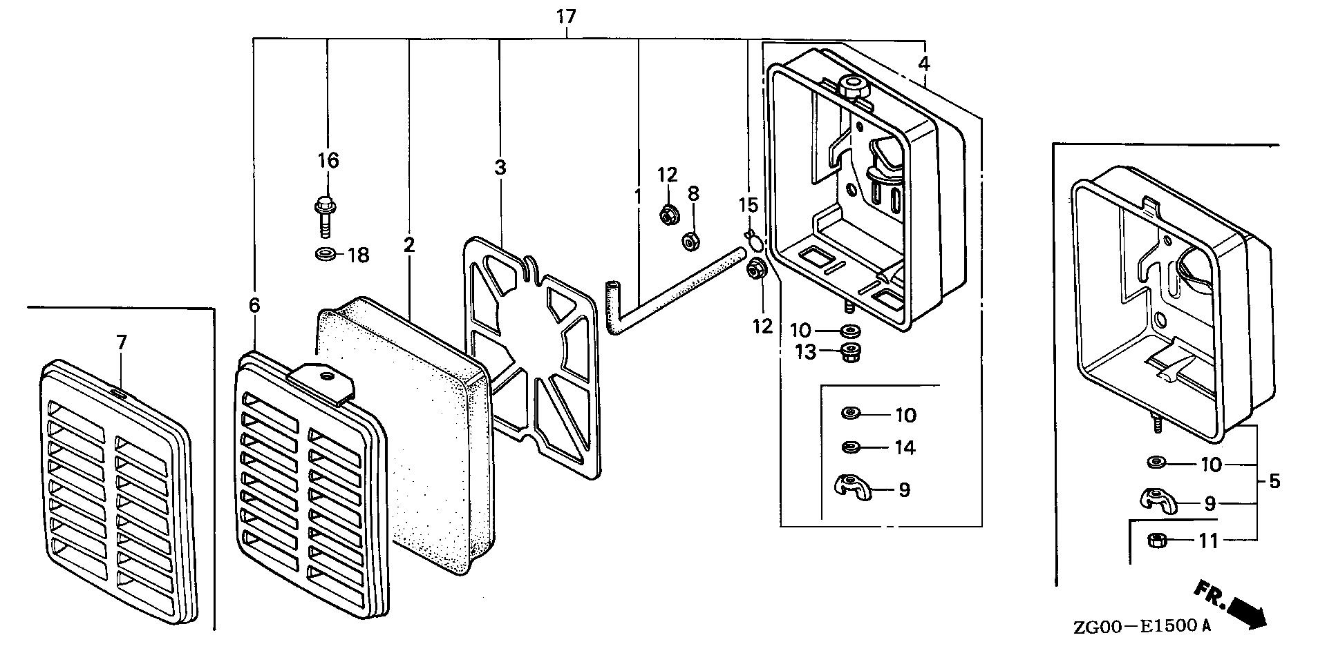
Ref No
Part Number
Description
Serial Range
Qty
Price

Ref No
1
Part Number
15721-896-010
Description
TUBE, BREATHER
Serial Range
3047226 - 9999999

Ref No
2
Part Number
17211-896-000
Description
ELEMENT, AIR CLEANER
Serial Range
3141520 - 9999999
Qty
Price
$7.97

Ref No
3
Part Number
17212-896-000
Description
GRID, AIR CLEANER
Serial Range
1000001 - 9999999
Qty
Price
$5.97

Ref No
5
Part Number
17220-ZG0-000
Description
HOUSING, AIR CLEANER
Serial Range
1000001 - 9999999

Ref No
7
Part Number
17231-ZG0-000
Description
COVER, AIR CLEANER
Serial Range
1000001 - 9999999

Ref No
9
Part Number
90325-044-000
Description
NUT, TOOL BOX SETTING
Serial Range
3104276 - 9999999
Qty
Price
$5.88

Ref No
10
Part Number
94101-06800
Description
WASHER, PLAIN (6MM)
Serial Range
3103518 - 9999999
Qty
Price
$1.99

Ref No
12
Part Number
94050-05000
Description
NUT, FLANGE (5MM)
Serial Range
1000001 - 9999999
Qty
Price
$1.99